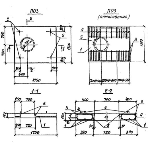
Плита ПО-3 — прочный элемент перекрытия сборных каналов
Железобетонная плита ПО-3 используется в составе сборных каналов для надёжного перекрытия инженерных коммуникаций. Изделие обеспечивает защиту трубопроводов и кабельных трасс от механических повреждений, атмосферных воздействий и деформаций грунта. Плита изготавливается по серии ИС0104-1 с применением тяжёлого бетона высокой марки, а также усилена стальной арматурой для устойчивости к статическим и динамическим нагрузкам. Конструкция рассчитана на многолетнюю эксплуатацию в сложных условиях, включая колебания температур и воздействие влаги.
Область применения
Плита ПО-3 применяется при обустройстве подземных и наземных инженерных сетей, чаще всего — теплотрасс, водопроводов, канализационных коллекторов и силовых кабельных линий. Она устанавливается поверх бетонного лотка, создавая сплошное перекрытие канала. Использование таких плит позволяет выполнять работы быстрее и с меньшими затратами, чем при традиционном монолитном строительстве. Конструкции с плитами ПО-3 находят применение в промышленном, гражданском и энергетическом строительстве.
Преимущества плиты
Плита ПО-3 обладает высокой несущей способностью и устойчива к нагрузкам от подвижных и стационарных объектов. Гладкая поверхность и точные размеры обеспечивают надёжное сопряжение с другими элементами канала. Благодаря армированию плита сохраняет целостность даже при деформации основания и нагрузках от тяжёлой техники. Бетон, используемый при производстве, устойчив к агрессивным средам и имеет хорошие характеристики морозостойкости и водонепроницаемости. Срок службы изделия составляет не менее 25–30 лет при соблюдении условий эксплуатации.
Контроль качества
Каждая плита перекрытия ПО-3 проходит обязательный производственный контроль: проверяется соответствие геометрическим параметрам, прочность бетона, качество армирования и отсутствие дефектов на поверхности. Производство осуществляется по действующим стандартам с применением современных форм и оборудования. Отгрузка осуществляется только после проверки партии и подтверждения пригодности изделий к строительству.
Условия транспортировки и хранения
Железобетонные плиты ПО-3 транспортируются на специализированных платформах с использованием строповочных устройств. Укладка изделий при перевозке осуществляется с применением прокладок, предотвращающих сколы и трещины. Хранение возможно как на открытых площадках, так и под навесами. Важно соблюдать ровность основания и избегать превышения допустимой высоты штабелирования.
Где купить плиту ПО-3
Компания «Блок-ЖБИ» предлагает купить плиту перекрытия ПО-3 по выгодной цене напрямую с завода. В наличии — продукция, соответствующая серии ИС0104-1, с полным комплектом сопроводительной документации. Наши специалисты помогут рассчитать нужный объём и организовать оперативную доставку по Краснодару и всей России. Заказывайте ЖБИ-плиты у надёжного поставщика — обеспечьте безопасность и долговечность ваших инженерных сооружений!
Смотрите также:
| Варианты написания товара |
|---|
| Плита ПО 3 |
| ПО 3 плита |
| Плита ПО3 |
| ПО3 плита |
| ПО 3 |
| ПО3 |
| Плита ПО 3 Серия ИС-01-04 |
| ПО 3 Серия ИС-01-04 |
| ПО3 Серия ИС-01-04 |
|
ГОСТ/Серия
|
Серия ИС-01-04 |
|
Длина, мм
|
1700 |
|
Ширина, мм
|
1100 |
|
Высота, мм
|
170 |
|
Масса, тонн
|
0.63 |
|
Объем бетона, куб.м
|
0.25 |
|
Геометрический объем, м.куб
|
0.318 |
|
Сталь, кг
|
34.2 |
|
Закладная 1
|
Сетка С2 |
|
Закладная 2
|
Отдельные стержни |
|
Закладная 3
|
Закладное изделие М-4 |
Как купить
Процесс покупки железобетонных изделий у нас прост и удобен. Следуйте этим шагам:
- Выбор продукции: Ознакомьтесь с нашим ассортиментом и выберите необходимые железобетонные изделия.
- Консультация: Свяжитесь с нашим менеджером для получения консультации по выбору продукции и уточнения всех деталей. Вы можете позвонить нам или написать на электронную почту.
- Оформление заказа: После согласования всех деталей оформите заказ. Менеджер поможет вам заполнить все необходимые документы.
- Согласование доставки: После оформления заказа наш менеджер свяжется с вами для согласования условий и сроков доставки.
- Оплата: Выберите удобный способ оплаты. Мы предлагаем несколько вариантов, включая безналичный расчет.
- Получение товара: После выполнения всех условий заказа, вы получите железобетонные изделия в назначенное время и по согласованному адресу. При получении подпишите акт приема-передачи.
Если у вас возникли вопросы на любом этапе покупки, не стесняйтесь обращаться к нашим менеджерам!
Оплата
Мы принимаем только безналичные платежи и работаем исключительно с юридическими лицами. Пожалуйста, ознакомьтесь с условиями оплаты ниже:
- Способ оплаты: Все расчеты производятся безналичным путем. Мы не принимаем наличные.
- Счет на оплату: После оформления заказа вам будет выставлен счет, который необходимо оплатить в срок, указанный в документе.
- Реквизиты: Все необходимые банковские реквизиты будут предоставлены в счете. Убедитесь, что все данные указаны правильно для успешного перевода.
- Подтверждение оплаты: После осуществления платежа отправьте нам подтверждение, чтобы мы могли оперативно обработать ваш заказ.
- Получение документов: После полной оплаты вы получите все необходимые документы, включая акт выполненных работ, товарные накладные и сертификаты на продукцию.
Мы работаем с НДС и предоставляем все необходимые сертификаты и документы. Все гарантии будут прописаны в договоре, что обеспечивает прозрачность и надежность сотрудничества.
Если у вас есть вопросы по поводу процесса оплаты, не стесняйтесь обращаться к нашим менеджерам за помощью!
Наша оперативность — ваше удобство. Мы гарантируем своевременную доставку железобетонных изделий, что является ключевым фактором для успешной реализации ваших строительных проектов. Доставка осуществляется прямо к вашему объекту с учетом всех стандартов качества.
Основные условия доставки:
• Выбор тарифа: Вы можете выбрать способ расчета стоимости доставки — почасовой или по зонам.
• Согласование: Менеджер свяжется с вами для уточнения деталей после оформления заказа.
• Время на погрузку: Комплектация товара занимает от 1 до 3 дней в зависимости от объема.
• Акт приема-передачи: Продукция передается по акту приема-передачи.
Тарифы на доставку:
Цены варьируются в зависимости от расстояния и региона. Все тарифы включают НДС. При неблагоприятных погодных условиях возможны небольшие изменения в стоимости.
География доставки:
Мы работаем по всей территории РФ и имеем 12 офисов и производств, чтобы обеспечить удобные условия для доставки.
Для точного расчета стоимости доставки обращайтесь к нашим менеджерам!

